Highlights
- Einfacher Deckenmontage: Schraubkopfplatte eignet sich ideal für die Installation an waagerechten Decken
- Robuste Materialien: Gefertigt aus feuerverzinktem Stahl für lange Haltbarkeit
- Vielseitige Verwendung: Optimal für U-Profile der Serie U 4530
- Inklusive Zubehör: Mit anteiligem feuerverzinkten Befestigungszubehör geliefert
Beschreibung
Die Schraubkopfplatte ist eine hochwertige Komponente für die Verwendung in Verbindung mit U-Profilen, speziell entworfen für die unkomplizierte und stabile Deckenmontage. Hergestellt aus robustem Stahl und nach DIN EN ISO 1461 feuerverzinkt, bietet sie hervorragenden Schutz gegen Korrosion und ist für den langfristigen Einsatz konzipiert. Die Kopfplatte verfügt über eine einseitige Lochung und ist mit einem angeschweißten U-Profil ausgestattet, was eine hervorragende Stabilität und vielseitige Anwendbarkeit ermöglicht. Dank ihrer durchdachten Konstruktion kann sie sowohl in industriellen als auch in handwerklichen Bereichen eingesetzt werden.
Produktmerkmale
- Eignet sich für U-Profil: Serie U 4530
- Geeignet für die Deckenmontage: Ja
- Geeignet für Konsolenbefestigung: Nein
Technische Daten
- Ausführung: Schraubkopfplatte
- Winkel: 90°
- Werkstoff: Stahl
- Werkstoffgüte: Sonstige
- Oberflächenschutz: Feuerverzinkt
- Farbe: Ohne
- RAL-Nummer: Ohne
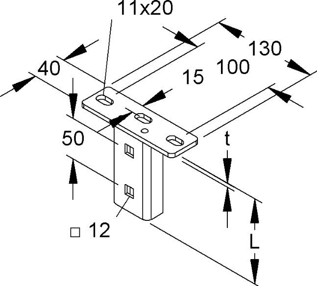
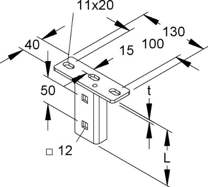
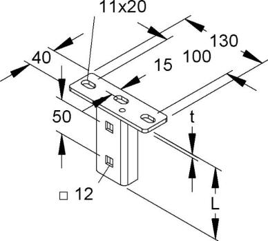
- Abmessungen Kopfplatte (LxBxT): 130 x 40 x 5 mm
- Befestigungslochung: 11 x 20 mm
- Mittiger Lochabstand: 100 mm
- Mittige Kopfplattenlochung: 11 x 20 mm, 15 mm vom Seitenrand
- Einseitige Profillochung: ? 12 mm, mittiger Abstand 50 mm
- Gesamtlänge: 105 mm
- Feuerverzinkung nach: DIN EN ISO 1461
| Produkttyp | U-Stiel |
| Ausführung | Stahl |
| Länge [mm] | 105 |